Виносний елемент
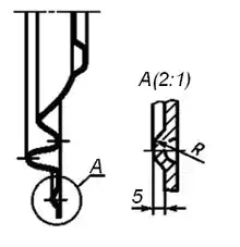
Виносни́й елеме́нт у кресленні — додаткове окреме, зазвичай збільшене, зображення частини предмета на кресленику деталі, щоб з'ясувати її форму, шорсткість поверхні та інші дані[1].

В електронних моделях виносні елементи не використовують[2]
Виносний елемент може містити елементи, які не зазначені на відповідних зображеннях (видах), та відрізнятися від нього за змістом (наприклад, зображення може бути розрізом, а виносний елемент — видом).
При виконанні виносного елемента відповідне місце на основному зображенні обводять замкненою суцільною тонкою лінією (коло, овал), від якої виносять похилу лінію, що закінчується поличкою, на якій ставлять літеру української абетки. Над виконаним зображенням виносного елемента ставлять ту ж літеру, а у дужках зазначають масштаб зображення. Виносний елемент виконується якомога ближче до відповідного місця на зображенні предмета.
У будівельному креслені виносний елемент на зображенні допускається також відзначати фігурною або квадратною дужкою або графічно не відзначати. Біля зображення, звідки елемент виноситься, і біля виносного елемента допускається також наносити присвоєну виносному елементу буквену або цифрову (арабськими цифрами) познаку та назву.
Примітки
- ДСТУ 3321:2003 Система конструкторської документації. Терміни та визначення основних понять.
- ГОСТ 2.305-2008 Единая система конструкторской документации. Изображения — виды, разрезы, сечения.
Джерела
- Островський О. Інженерне креслення з додатком основ комп'ютерного креслення (CAD): Навчальний посібник для студентів технічних навчальних закладів. — Львів: Оксарт, 1998. — 184 с. — ISBN 966-7113-27-2
- Інженерна графіка: креслення, комп'ютерна графіка:Навчальний посібник / За ред. А. П. Верхоли. — К.: Каравела, 2005. - 304 с. - Вища освіта в Україні. — ISBN 966-8019-35-0