Водопостачання
Водопостача́ння — стала система постачання води належної якості та кількості населенню, промисловим підприємствам тощо, у певній державі. За прогнозами експертів до 2050 року 3,5 – 4,4 мільярда людей будуть відчувати нестачу питної води, з них близько мільярда – мешканці міст [1]

Види водопостачання

- Оборотне водопостачання (замкнений цикл водопостачання), (рос. водоснабжение с кругооборотом воды, англ. supply of water with circle; нім. Wasserbeschaffung mit Wasserzirkelbewegung f) — спосіб водопостачання з багаторазовим використанням відпрацьованої води, що пройшла необхідне очищення. Втрати води при цьому поповнюються з водного джерела.
- Централізоване господарсько-питне́ водопостача́ння (рос. питьевое водоснабжение; англ. drinking water supply; нім. Trinkwasserversorgung f) — сукупність заходів із забезпечення питною водою населення, пов'язаних єдиним технологічним процесом. Централізоване господарсько-питне водопостачання включає вибір і оцінку можливих джерел водопостачання (для підземних вод — оцінку їх запасів), вибір місця закладання та будівництво водозабірних споруд, санітарну оцінку вод і заходів з їх охорони від забруднення. Склад і властивості питної води в системах централізованого господарсько-питного водопостачання повинні відповідати певним нормативним вимогам.
- Місцеве або децентралізоване водопостачання — система водопостачання, призначена для забезпечення питною водою окремих будинків або невеликої групи будівель; має низку особливостей. З цією метою можуть використовуватися різні за походженням води: атмосферні, поверхневі, підземні.
- Холодне водопостачання — цілодобове забезпечення споживача холодною питною водою належної якості, що подається в необхідних обсягах з приєднаної мережі в приміщення або до водорозбірної колонки.
- Гаряче водопостачання — цілодобове забезпечення споживача гарячою водою належної якості, що подається в необхідних обсягах з приєднаної мережі в приміщення.
Системи водопостачання
Системи водопостачання — це комплекс інженерних споруд, які призначені для забору води з джерела водопостачання, її очищення, зберігання і доправлення до споживача.[2]
За видами використання природних водних джерел вирізняють водопроводи (системи водопостачання), що забирають воду з поверхневих джерел — річок, водосховищ, озер, морів, і водопроводи, що забирають воду з підземних джерел (артезіанських, джерельних). Існують також водопроводи змішаного живлення.
За видами об'єктів, що обслуговуються, системи водопостачання поділяють на міські, промислові, сільськогосподарські тощо.
За призначенням системи водопостачання поділяють на господарсько-питні, виробничі, протипожежні.
За способом подачі води вирізняють самопливні водопроводи й водопроводи з механічною подачею.
На основі техніко-економічних розрахунків часто влаштовують поєднані системи водопостачання: господарсько-протипожежні, виробничо-протипожежні або виробничо-господарсько-протипожежні.
Системи водопостачання можуть обслуговувати як один об'єкт, наприклад місто або підприємство, так і декілька об'єктів. У випадках, коли окремі частини території мають значну різницю у відмітках висот, влаштовують зонні системи водопостачання (окремих районів).[2]
Джерела водопостачання

Джерела водопостачання бувають закритого (підземні) й відкритого (поверхневі) типу.
| Цілі сталого розвитку | |
![]() | |
|
Ціль 1. Подолання бідності | |
До підземних джерел водопостачання відносяться підземні води, які утворюються внаслідок проникнення в землю атмосферних і поверхневих вод. Підземні води можуть бути безнапірними й напірними (артезіанськими). Безнапірні води першого від поверхні водоносного горизонту, називаються ґрунтовими. Ґрунтові води не перекриті зверху водотривким шаром, тому характеризуються підвищеною небезпекою можливого забруднення. Для централізованого водопостачання вони не використовуються.
Напірні (артезіанські) міжпластові води заповнюють водоносні горизонти повністю. Вони добре захищені від проникнення забруднювальних речовин з поверхні кількома шарами водотривких порід. Артезіанські води, як правило, характеризуються високою якістю і можуть використовуватися без очищення.
У колодязі (свердловині), який відкриває напірний водоносний горизонт, вода підіймається до п'єзометричної лінії. Якщо п'єзометрична лінія проходить вище поверхні землі, спостерігається виливання води з колодязя. Такі колодязі (свердловини) називаються самовиливними. Безнапірні й напірні води можуть виходити на поверхню (джерела).
До поверхневих джерел водопостачання належать річки, озера, водосховища.
Морська вода після опріснення може також використовуватися для господарсько-питних потреб, хоча частіше у певних регіонах світу використовується у промислових і сільськогосподарських системах водопостачання .
Вибір джерела водопостачання залежить від якості води в ньому та його продуктивності.
Схема водопостачання міста залежить від виду джерела водопостачання.
В Україні дослідження проб води з джерел господарсько-питного водопостачання (для оцінки їхнього стану) здійснюється згідно з вимогами ГОСТ 2761-84 «Джерела централізованого господарсько-питного водопостачання» та СанПіН 4630-88 «Санітарні правила і норми охорони поверхневих вод від забруднень».[3]
Деякі вимоги до властивостей, складу та якості води

Склад природних вод різноманітний і являє собою динамічну систему, що постійно змінюється, яка вміщує мінеральні й органічні речовини у завислому, колоїдному і розчиненому станах.[2]
Якість води характеризується поєднанням її фізичних властивостей, хімічного і бактеріологічного складу.
До фізичних властивостей води належать її температура, кольоровість, мутність, присмак і запах.
Температура води залежить від джерела водопостачання та сезону року.
Залежно від місцевих природних умов і характеру споживання води, а також в залежності від економічних міркувань схема водопостачання і складові її елементи можуть змінюватися досить сильно.[4]
Під кольоровістю води розуміють її забарвлення, яке виражається у градусах кольоровості за платиново-кобальтовою шкалою. Один градус цієї шкали відповідає 1 дм³ води, забарвленої 1 мг порошку платини.
Мутність визначається вмістом у воді завислих частинок і виражається у мг/дм³.
Присмак води. Схематично виокремлюють чотири присмаки води: солоний, гіркий, солодкий і кислий. Солоний присмак воді надають хлоридні солі натрію, гіркий - сульфат магнію. Кислий присмак мають мінеральні води за великого вмісту вуглекислого газу.
Запах води може бути природного і штучного походження. Серед запахів природного походження розрізняють наступні: ароматичний, болотний, сірководневий, гнильний, деревний, землистий, пліснявий, рибний, трав'янистий, непевний.
Хімічний склад води характеризується наступними показниками: активною реакцією (рН), твердістю (жорсткістю), окисненістю, вмістом окремих розчинених солей та їх сумарним вмістом - мінералізацією води (у водопровідній практиці - сухий залишок)
Активна реакція води (рН) визначається концентрацією у воді іонів водню і виражається через рН. При рН = 7 - водне середовище нейтральне, при рН < 7 - середовище кисле (кислі води), а при рН > 7 - середовище лужне (лужні води).
Твердість води визначається вмістом у ній солей кальцію і магнію. Вона виражається у мг-екв/дм³. Вирізняють твердість карбонатну, некарбонатну і загальну (їхня сума). Карбонатна твердість характеризується вмістом карбонатних солей кальцію, некарбонатна твердість — вмістом некарбонатних солей кальцію і магнію. Особливо велику твердість має морська вода.
Окисненість зумовлюється вмістом у воді розчинених органічних речовин і слугує показником можливого забруднення цими речовинами, що розкладаються - чим вищий показник окиснюваності, тим гірша якість води.
Мінералізація води (у водопровідній практиці - сухий залишок) - вміст у воді розчинених солей у мг/дм³. Згідно нормативних вимог мінералізація води у джерелі централізованого водопостачання не може перевищувати 1000 мг/дм³ (1 г/дм³)[5], але може бути 1500 мг/дм³ (1,5 г/дм3) - за погодженням з головним санітарним лікарем відповідної адміністративної території України. В той же час, за показником фізіологічної повноцінності мінерального складу води - оптимальною є мінералізація 0,2-0,5 г/дм3. Для прикладу, мінералізація води р. Дніпро становить 300-350 мг/дм³, підземних вод у бюветах м. Києва - 500-600 мг/дм³.[3]
Ступінь бактеріологічного забруднення води визначається кількістю бактерій, яка міститься у 1 см3 води. Вирізняють патогенні (хвороботворні) і сапрофітні бактерії. Для оцінки ступеня забруднення води патогенними бактеріями визначають вміст у ній кишкової палички. Бактеріальне забруднення води вимірюють колі-титром та колі-індексом.
Колі-титр — об'єм води у см3, в якому міститься одна кишкова паличка.
Колі-індекс — кількість кишкових паличок, які містяться у 1 дм³ води.
Вимоги до якості питної води (вже після водопідготовки) в Україні визначаються ГОСТ 2874-82 «Вода питна. Гігієнічні вимоги, контроль за якістю» та ДСанПіН 2.2.4-171-10 "Гігієнічні вимоги до води питної, призначеної для споживання людиною"[5], затверджених Мінохорони здоров'я 12.05. 2010 р., уведених 16.07. 2010 р. Вимоги до якості виробничої води залежать від характеру виробництва.
Нормативні визначення
- Тариф на централізоване водопостачання та водовідведення — вартість одиниці (1 куб. метр) централізованого водопостачання чи водовідведення відповідної якості як грошовий вираз планованих економічно обґрунтованих витрат з урахуванням планованого прибутку.[6]
- Баланс водоспоживання та водовідведення — співвідношення між фактично використаними обсягами води з усіх джерел водопостачання та обсягами стічних вод, що відводяться за визначений термін.[7]
- Водокористування — використання водних об'єктів для задоволення потреб населення і народного господарства[8].
- Водогін — комплекс споруд для видобування, очищення і подавання води певної якості споживачам[8].
- Водоспоживач — юридична або фізична особа, яка здійснює водоспоживання[8].
- Зона санітарної охорони (ЗСО) — територія і акваторія, на якій запроваджується особливий санітарно-епідеміологічний режим для запобігання погіршенню якості води джерел централізованого господарсько-питного водопостачання і охорони водопровідних споруд[8].
- Знезараження води — зменшення кількості хвороботворних організмів у воді до меж, встановлених санітарно-гігієнічними нормами[8].
- Технічна експлуатація споруд і мереж водопостачання і каналізації — комплекс робіт, спрямованих на збереження та забезпечення безперебійної і надійної роботи всіх споруд і мереж водопроводу та каналізації при високих техніко-економічних і якісних показниках з урахуванням вимог державного стандарту на питну воду, Правил охорони водойм від забруднення стічними водами і раціонального використання всіх ресурсів[8].
З історії водопостачання в Україні
Перший централізований водогін у Києві із забором води з Дніпра і очищенням (водопідготовкою) її на піщаних фільтрах було збудовано 1872 року.[3] 1895 року пробурено перші дві артезіанські свердловини, у 1897 р. - ще 9 свердловин, які було приєднано до міської водопровідної мережі. Через спалах холери з 1908 р. Київ перейшов лише на водопостачання підземними водами - аж до 1939 р., коли було збудовано Дніпровський водозабір (нижче Вишгорода). На сьогодні Київ живиться з трьох джерел: р. Десна, р. Дніпро, підземні води.
У 1960 р. водогін мали 275 міст України з 332. Тобто, 57 міст залишалися без централізованого водопостачання. У містах з наявним водогоном, ним було обладнано лише 62% міського державного житлового фонду. Найбільшого благоустрою житла було досягнуто на той час у Києві, Харкові, Дніпропетровську, Запоріжжі, Львові та інших містах.
Законодавча регламентація в Україні
На терені України усі питання водопостачання населення держави регламентуються відповідним Законом України[9].
Виноски
- https://zik.ua/news/2018/08/22/vcheni_rozpovily_koly_lyudstvo_zitknetsya_z_defitsytom_prisnoi_vody_1391271
- Шульга М.О., Деркач І.Л., Алексахін О.О. Інженерне обладнання населених місць: Підручник. — Харків: ХНАМГ, 2007. — 259 с.
- Хільчевський В.К. Водопостачання і водовідведення: гідроекологічні аспекти: Підручник. - К.: ВПЦ "Київський університет", 1999. - 319 с. ISBN 966-594-073-2
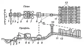
- Основні елементи системи водопостачання.
- Державні санітарні норми та правила "Гігієнічні вимоги до води питної, призначеної для споживання людиною" (ДСанПіН 2.2.4-171-10)
- Постанова Кабінету міністрів України
- Наказ міністерства з питань житлово-комунального господарства України
- Державний комітет України по житлово-комунальному господарству. Наказ N 30 від 05.07.95 Про затвердження Правил технічної експлуатації систем водопостачання та каналізації населених пунктів України
- Сайт Президента України, 15.06.2017
Див. також
Джерела
- Запольський А.К. Водопостачання, водовідведення та якість води: Підручник. - К.: Вища школа, 2005. - 671 с.
- Мала гірнича енциклопедія : у 3 т. / за ред. В. С. Білецького. — Д. : Донбас, 2004. — Т. 1 : А — К. — 640 с. — ISBN 966-7804-14-3.
- Хільчевський В.К. Водопостачання і водовідведення: гідроекологічні аспекти: Підручник. - К.: ВПЦ "Київський університет", 1999. - 319 с. ISBN 966-594-073-2
- Шульга М. О., Деркач І. Л., Алексахін О. О. Інженерне обладнання населених місць: Підручник. — Харків: ХНАМГ, 2007. — 259 с.
Література
- Водопостачання і водовідведення : навч. посіб. / О. О. Мацієвська; Нац. ун-т "Львів. політехніка". - Львів : Вид-во Львів. політехніки, 2015. - 140 c. - Бібліогр.: с. 137-140.
Посилання
- Водопостачання // Термінологічний словник-довідник з будівництва та архітектури / Р. А. Шмиг, В. М. Боярчук, І. М. Добрянський, В. М. Барабаш ; за заг. ред. Р. А. Шмига. — Львів, 2010. — С. 55. — ISBN 978-966-7407-83-4.
