Гідропоршнева насосна установка
Гідропоршнева насосна установка (рос.гидропоршневая насосная установка, англ. hydraulic pumping plant, нім. hydraulische Kolbenpumpanlage f) – комплекс обладнання для підйому рідини зі свердловин за рахунок зворотно-поступального руху поршня свердловинного (глибинного) насоса, що приводиться в рух глибинним поршневим гідродвигуном з золотниковим перемикачем. Передача енергії до двигуна здійснюється потоком робочої рідини, що нагнітається з поверхні насосно-компресорними трубами (НКТ).

За способом установки глибинного агрегату Г.н.у. поділяються на:
- вільні (агрегат спускається в свердловину і виймається на поверхню потоком робочої рідини) і
- трубні (ці операції проводяться НКТ).
Продуктивність насосів досягає 800-1200 м³/доб., максимальний напір - 4500 м, коеф. корисної дії 0,4-0,6.
Г.н.у. ефективні в похилонаправлених, глибоких свердловинах, поширених на мор. промислах і в умовах Заполяр'я.
Гідропоршневі насосні установки розрізняються:
– за типом принципової схеми циркуляції робочої рідини (відкрита чи закрита);
– за принципом дії свердловинного насоса (одинарної, подвійної дії чи диференціальний);
– за принципом роботи гідродвигуна (диференціальної чи подвійної дії);
– за способом спуску заглибного агрегату (спускаються на колоні НКТ – фіксовані чи вільні – скидаються в свердловину);
– за кількістю гідропоршневих насосних агрегатів, що обслуговуються однією наземною установкою (індивідуальні чи групові).
Тип принципової схеми циркуляції робочої рідини визначає спосіб повернення робочої рідини на поверхню. В установках із закритою схемою рідина після здійснення нею корисної роботи з гідродвигуна окремим каналом піднімається на поверхню. Продукція шару, що виходить зі свердловинного насоса, піднімається своїм окремим каналом.
В установках із відкритою схемою рідина, вийшовши з гідродвигуна, змішується з рідиною, що виходить зі свердловинного насоса, і піднімається на поверхню по загальних каналах. Недоліком першої схеми є велика металоємність, оскільки від устя до заглибного агрегату необхідно спустити три герметичних трубопроводи: для подачі робочої рідини до агрегату, для її відведення і для підйому пластової рідини. Перевагою цієї схеми є незначні втрати робочої рідини, зумовлені тільки лише витоками із системи привода. Варто помітити, що продуктивність системи підготовки робочої рідини всієї установки значною мірою залежить від якості підготовки робочої рідини.
Установки з відкритою схемою мають меншу металоємність, оскільки припускають канали тільки для двох потоків рідини – згори-вниз – робочої, а знизу-нагору – суміші робочої і пластової рідини. Відповідно простіше й устаткування устя. Недоліком цієї системи є необхідність обробки великої кількості робочої рідини для наступної її подачі до напірної системи, що вимагає застосування складних і високопродуктивних систем для її підготовки.
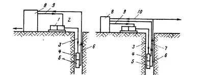
Принципові схеми установок обох типів наведені на рисунку 1. У кожній із них двигун 1 пускає в хід силовий насос 2, який колоною труб 3 подає робочу рідину до двигуна 4. Свердловинний насос 5, що приводиться в дію двигуном 4, забирає пластову рідину зі свердловини і колоною труб 6 спрямовує її нагору. В установці з відкритою схемою робоча рідина з мотора піднімається на поверхню по колоні труб 6, а в установці із закритою схемою – окремою колоною 7.
В установці з відкритою схемою суміш пластової і робочої рідини з колони 6 спрямовується в пристрій підготовки робочої рідини 8, із якого очищена нафта трубопроводом 9 надходить на прийом силового насоса 2; а інша частина потоку разом з окремими домішками направляється в збірний промисловий колектор.
В установці із закритою схемою робоча рідина повертається в буферну ємність пристрою підготовки 8, відкіля трубопроводом 9 направляється на прийом силового насоса 2. Пластова рідина з колони 7 приділяється в збірний промисловий колектор, а невелика частина рідини (1-2%) по трубопроводу 10 направляється в пристрій підготовки 8 для компенсації втрат робочої рідини.
Див. також
Література
- Мала гірнича енциклопедія : у 3 т. / за ред. В. С. Білецького. — Д. : Донбас, 2004. — Т. 1 : А — К. — 640 с. — ISBN 966-7804-14-3.