Свердловина
Свердлови́на (англ. well, drilling hole, borehole; нім. Bohrloch) — гірнича виробка, глибокий, вузький круглого перерізу отвір у ґрунті, зроблений буровим інструментом.


Загальний опис
Свердловина, як правило, циліндричної форми,[1] великої довжини і малого (порівняно з довжиною) діаметра, яку споруджують за допомогою спеціальних інструментів і механізмів без доступу в неї людини.
Свердловини бурять з поверхні суходолу або з моря, з підземних гірничих виробок. Початок свердловини на поверхні називають гирлом (устям), а дно — вибоєм. Гірнича виробка утворює отвір або стовбур свердловини, бічна поверхня якого називається стінкою свердловини. Розрізняють дослідницькі, експлуатаційні, гірничотехнічні та будівельні С. Крім того, є вентиляційні та дегазаційні С. Свердловина — основна гірнича виробка, яка застосовується для розвідки та експлуатації рідких та газоподібних корисних копалин. Як правило, глибина С. більша 5 м, а діаметр понад 75 см.
Свердловини, пробурені на шельфі, можна розділити на: свердловини з підводним закінчуванням і свердловини з розміщенням гирла на платформі. Свердловини з розміщенням гирла на платформі облаштовуються противикидним обладнанням, клапанами і трубами, які розміщені на самій платформі, що дозволяє легко проводити ремонт і експлуатувати свердловини.
Класифікація

Бурові свердловини поділяють за:
глибиною
- мілкі — глибиною до 2000 м (з них переважна більшість — до декількох сотень м),
- середні — до 4500 м,
- глибокі — до 6000 м,
- надглибокі — понад 6000 м. Довжина (глибина) найбільших бурових свердловин понад 12 км (Кольська надглибока).
положенням осі стовбура і конфігурацією
- вертикальні, горизонтальні, похилі;
- нерозгалужені, розгалужені, поодинокі та кущові.
- спеціальні (наприклад, з профілем "риб'ячої кістки", "березового листка", багатовибійні свердловини, багатоповерхові свердловини тощо[2])
характером профілю свердловини поділяють на
- прямолінійні (не викривлені)
- викривлені. Викривлені поділяють на плоско викривлені і просторово викривлені.
призначенням
- дослідні — для дослідження земної кори,
- картувальні — для вирішення задач геологічного картування
- структурно-пошукові
- опорно-геологічні
- опорно-технологічні
- інженерно-геологічні
- параметричні
- пошукові — для пошуків покладів користних копалин
- розвідувальні — для розвідки глибинної геологічної будови регіону
- експлуатаційні (видобувні, розробні) — для розробки родовищ корисних копалин
|
за розроблюваним покладом:
|
за принципом дії на пласт
|
за категорією:
|
за станом:
|
- будівельні — для будівництва різних споруд (мостів, причалів, фундаментів, паль і основ, підземних сховищ для рідин і газів, водоводів, продуктопроводів тощо),
- гірничотехнічні — для будівництва й експлуатації гірничих споруд
- вибухові (на них припадають найбільші обсяги буріння)
- заморожувальні
- тампонажні
- вентиляційні
- водовідливні

Взаємодіючими називають свердловини, в яких сума радiусiв впливу є бiльшою вiд вiдстані мiж ними (рис. 4).
Опорні свердловини закладаються в районах, ще не досліджених бурінням і служать для вивчення складу і віку складають їх порід. Параметричні свердловини закладаються у відносно вивчених районах з метою уточнення їх геологічної будови і перспектив нафтогазоносності.
Структурні свердловини буряться для виявлення перспективних площ та їх підготовки до пошуково-розвідувального буріння. Пошукові свердловини бурять з метою відкриття нових промислових покладів нафти і газу.
Розвідувальні свердловини буряться на площах з встановленою промисловою нафтогазоносністю для вивчення розмірів і будови покладу, отримання необхідних вихідних даних для підрахунку запасів нафти і газу, а також проектування її розробки.
Експлуатаційні свердловини закладаються у відповідності зі схемою розробки покладу і служать для видобутку нафти і газу із земних надр.
Нагнітальні свердловини використовують при впливі на розроблюваний пласт різних агентів (закачування води, газу тощо).
Спостережні свердловини бурять для контролю за розробкою покладу (зміною тиску, положення водонафтового і газонафтового контактів).
Крім того, при пошуку, розвідці і розробці нафтових і газових родовищ бурять картирувальні, сейсморозвідувальні, спеціальні та інші свердловини.
Свердловини, пробурені на шельфі, можна розділити на: свердловини з підводним закінчуванням і свердловини з розміщенням гирла на платформі.

В гідрогеології та інженерній геології свердловини (у широкому розумінні — будь-які гірничі виробки) поділяють на гідродинамічно досконалі та недосконалі. Гiдродинамiчно досконалою називається свердловина, яка проходить водоносний горизонт вiд покрiвлi до пiдошви. Приплив води до неї вiдбувається по всiй поверхнi дотику стiнок виробки до водоносного горизонту, товщиною Н (рис. 5 а). Якщо ж виробка не доходить до водотриву, вона називається недосконалою за ступенем виявлення водоносного горизонту (рис. 5 б). Часто свердловини закрiплюються вiд обвалювання, цементуються, свердловини обладнуються обсадними трубами, фiльтрами тощо. Звичайно, приплив води до таких виробок є утрудненим, i їх називають недосконалими за характером виявлення водоносного горизонту. Дуже часто на практицi ми маємо справу з різними комбiнацiями недосконалостей.
Категорії свердловин
Категорії свердловин, (від грец. χατηγορία — ознака) (рос. категории скважин; англ. well categories; нім. Sondenkategorien f pl) — виділені при обліку і плануванні видобутку нафти (газу) дві категорії свердловин, що складають експлуатаційний фонд і розрізняються за часом введення в експлуатацію незалежно від їх стану в розглядуваному періоді — категорії старих і нових свердловин.
Конструкція і елементи свердловин
Див. також Будівництво свердловини, Обладнання свердловин






У бурових свердловин виділяють гирло (устя), стовбур і дно (вибій).
Залежно від глибини і призначення, умов буріння стінки свердловин закріплюють або залишають незакріпленими. Кріплення стовбура не проводять для гірничотехнічних (наприклад, вибухових) й інших свердловин невеликої глибини (до 50 м), пробурених у стійких скельних масивах.
Свердловини, призначені для експлуатації і досліджень, в процесі спорудження кріплять.
Вони мають найскладнішу конструкцію, яка визначається
- розмірами частин стовбура, обсадних колон і цементного кільця в просторі за обсадними колонами;
- видом і кількістю обсадних колон;
- обладнанням обсадних колон, гирла і вибою свердловини.
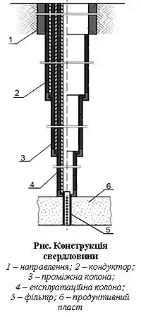
Обсадні колони призначені для кріплення стінки частин стовбура свердловини й ізоляції зон різних ускладнень, а також продуктивної товщі від решти частини геологічного розрізу. Як правило, вони зґвинчуються (зварюються) із сталевих труб, у мілких свердловинах застосовують обсадні труби з пластмаси і азбоцементу. Див. Експлуатаційна колона.
Види обсадних колон:
- напрямна — перша обсадна колона (довжиною до 30 м і діаметром 1000—578 мм), яку опускають у верхню (напрямну) частину стовбура, щоб ізолювати верхній наносний шар ґрунту і відвести висхідний потік бурового агента із стовбура свердловини в очисну систему, цементується по всій довжині.,
- кондукторна — друга обсадна колона, (діаметром 426 мм) яка опускається у стовбур свердловини, призначена для перекриття верхніх нестійких відкладів, водоносних і поглинальних пластів, зон вічномерзлих порід тощо. На неї встановлюють противикидне обладнання, кільцевий простір за колоною звичайно цементують по всій довжині,
- проміжна (технічна) — (діаметром 299 або 219 мм) опускають у разі необхідності після кондукторної для кріплення нестійких порід, роз'єднання зон ускладнень і водоносних горизонтів. Глибину опускання проміжних і кондукторних колон розраховують із врахуванням попередження гідророзриву пластів, стійкості стінки стовбура свердловини, розділення зон застосування різних бурових агентів. Кількість проміжних колон залежить від глибини свердловини і складності геологічного розрізу.
- експлуатаційна — (діаметром 140—168 мм) призначена для експлуатації й ізолює продуктивні пласти. Для вилучення флюїдів з продуктивних пластів у експлуатаційну колону опускають насосно-компресорні труби (НКТ) в різних комбінаціях залежно від кількості розроблюваних пластів і застосовуваного способу видобування.
У проміжну й експлуатаційну частини стовбура свердловини замість обсадної колони повної довжини можуть бути опущені на бурильних трубах обсадні колони-хвостовики, верх яких кріпиться з допомогою спеціальних підвісок. Колону-хвостовик після закінчення будівництва свердловини часом нарощують до гирла свердловини колоною-надставкою.
Для полегшення опускання, цементування обсадних колон і підвищення якості цих робіт обсадні колони обладнуються напрямними башмаками, різними клапанами, з'єднувальними і роз'єднувальними пристроями, турбулізаторами цементного розчину, пакерами, центраторами і скребками. При багатоступінчастому цементуванні до складу обсадної колони вводять цементувальні муфти.
За кількістю обсадних колон, які опускають у стовбур свердловини після кондукторної, розрізняють одно-, дво-, три- і багатоколонні конструкції свердловин; за видом обладнання привибійної зони — свердловини з обсадженою і необсадженою привибійною зоною. Конструкція свердловини з обсадженою привибійною зоною може бути отримана або в разі опускання в неї суцільної експлуатаційної колони з наступним її цементуванням і перфоруванням колони, цементного каменю і продуктивного пласта, або опусканням у неї експлуатаційної колони з хвостовою секцією, яка має круглі або щілиноподібні отвори, розміщені напроти продуктивного пласта.
Конструкція газових свердловин відрізняється більшою герметичністю обсадних колон, яка досягається застосуванням обсадних труб із спеціальними з'єднаними і мастилами для них, підніманням цементного розчину за всіма колонами до гирла свердловини і т. д. Гирло видобувних нафтових і газових свердловин обладнують спеціальною арматурою. Конструкція свердловини, призначеної для пошуку і розвідки родовищ твердих корисних копалин значно простіша. Напрямна частина таких свердловин має довжину декілька метрів і закріплюється напрямною трубою, кондукторна частина має довжину 30-150 м. Далі стовбур бурять з повним відбиранням керна, а закріплення нестійких порід здійснюють сумішами, які швидко тверднуть.
Опорна плита — плита, яка встановлюється на попередньо вирівняному дні моря і служить опорою для свердловинного обладнання. Плиту кріплять до дна моря палями, які забивають у дно. У плиті завчасно роблять отвори, які при бурінні використовують для встановлення напрямку для кожної свердловини куща, а відтак — для встановлення колонної головки.
Фільтрова зона (вибій видобувної свердловини) — інтервал стовбура свердловини навпроти продуктивного пласта, в якому забезпечується сполучення стовбура свердловини з пластом.
Залежно від геологічних і технологічних умов розробки родовищ застосовують такі типові конструкції вибоїв свердловин:
- відкритий вибій;
- вибій, перекритий хвостовиком колони, перфорованим перед її спуском;
- вибій, обладнаний фільтром;
- перфорований вибій.
Технологічні операції в свердловинах
Обстеження стовбура свердловини
Див. Обстеження стовбура свердловини
Обстеження стовбура свердловини — процес з'ясовування прохідності печатки вздовж стовбура свердловини з метою перевірки стану експлуатаційної колони і стовбура свердловини, встановлення наявності в ньому дефектів (зім'ять, тріщин), підземного й аварійного (обірваних труб тощо) обладнання, зайвих предметів, визначення глибини вибою і рівня рідини.
Промивка свердловин
Див. Промивка свердловин
Промивка свердловин (промивання свердловин) — циркуляція (безперервна або періодична) промивального агента (газу, піни, води, бурового розчину) при бурінні з метою очистки вибою від вибуреної породи (шламу) і транспортування її на поверхню або до шламозбірника, передачі енергії вибійним двигунам, охолоджування і змазки породоруйнуючого інструменту.
При роторному бурінні в м'яких і середніх породах за рахунок дії промивального агента (при швидкості рідини 200—250 м/с) досягається також гідромоніторне руйнування порід на вибої. Розрізняють загальну пряму, загальну зворотну, привибійну (місцеву) і комбіновану схеми циркуляції.
Продувка свердловин
Див. Продувка свердловин
Продувка свердловин (англ. air flushing, blowing-out, нім. Freifördern n eines Bohrlochs, Sauberfördern n einer Sonde) — різновид промивки (промивання) свердловин при бурінні та розкритті продуктивних пластів, коли як циркулююче середовище використовують дисперсні системи з густиною до 1000 кг/м3, які складаються із газоподібного та рідкого компонентів.
Піскування свердловин
Піскування свердловин — винесення піску із продуктивного пласта у свердловину або суфозія. П.с. зумовлюється дією фільтраційного потоку на продуктивний пласт, внаслідок якої окремі частинки (піщинки) видаляються із привибійної зони і змінюється структура гірської породи.
Ремонт свердловин
Див. Ремонт свердловин
Ремонт свердловин — комплекс технічних заходів, направлених на відновлення робочого стану свердловин.
Спуско-підіймальні операції на свердловинах
Див. Спуско-підіймальні операції на свердловинах
При бурінні свердловин — технологічні операції з опускання і піднімання колони труб (бурильних, технологічних тощо), які здiйснюються під час буріння свердловин, виконання капiтального і підземного ремонту.
Ізоляція у свердловині селективна
Метод ізоляції у свердловині обводнених інтервалів експлуатаційного об'єкта шляхом нагнітання в останній спеціальних тампонажних розчинів, смол або інших речовин, які вибірково закупорюють обводнені пласти.
Розташування свердловин
Раціональне розміщення свердловин — розміщення свердловин, при якому мінімальною їх кількістю забезпечується вирішення поставлених задач з ефективної розробки експлуатаційного об'єкта (родовища).
Створення вікна в колоні і буріння нового стовбура
Це ефективний метод вiдновлення роботопридатності свердловини, яку вiдремонтувати (пошкоджена частина стовбура тощо) технiчно неможливо або економiчно недоцiльно. Забурювання додаткових стовбурів, як один із методів дорозвідки (дорозробки) родовища, дає змогу також детально вивчати поточний стан розроблюваних покладів і вирішувати наступні задачі: визначати поточне положення водонафтового контакту (ВНК) в розроблюваних об'єктах; на підставі оцінки поточного стану розробки родовища встановлювати повноту нафтовилучення; вносити корективи в діючу систему розробки родовища і виявляти локальні скупчення нафти; виявляти експлуатаційні об'єкти, що були пропущені діючою системою розробки родовища; відновлювати порушену сітку свердловин для розробки родовища тощо.
Системи розробки активні
Системи розробки із співвідношенням нагнітальних і видобувних свердловин 1:3 і більше, які забезпечують підвищення темпів розробки нафтових покладів. Сюди відносять системи з «розрізанням» на вузькі смуги за трирядного розміщення свердловин, з площовим і вибірковим заводненням. С.р.а. застосовують для покладів з низькою продуктивністю, а іноді і для високопродуктивних покладів з метою інтенсифікації їх розробки. Син. — системи розробки інтенсивні.
Собівартість будівництва свердловини
Це грошовий вираз усіх витрат на будівництво свердловини, який охоплює витрати на матеріали для буріння, паливо, електроенергію, заробітну плату з нарахуваннями, амортизаційні відрахування і т. д.
Характеристики свердловини
Профіль приймальності диференціальний — діаграма, яка показує величини витрати запомпо-вуваного у свердловину робочого агента на кожну одиницю товщини пласта (експлуатаційного об'єкта).
Профіль припливу диференціальний — діаграма, яка показує величини припливу рідини у свердловину на кожну одиницю товщини пласта (експлуатаційного об'єкта).
Профіль свердловини — вертикальна проекція стовбура похило-спрямованої свердловини на площину, паралельну площині проектного азимутального викривлення її стовбура.
Приймальність свердловини — характеристика нагнітальної свердловини, яка показує можливість закачування робочого агента (води, газу, пари тощо) в пласт і визначається об'ємом суміші, який закачується в пласт за одиницю часу. В технологічних розрахунках використовується також коефіцієнт П.с., що дорівнює відношенню кількості робочого агента, який закачується в пласт за одиницю часу, до репресії тиску, що створюється на вибої свердловини під час закачування. Дані про П.с. використовуються при проектуванні і регулюванні розробки родовищ, в пласти яких закачуються робочі агенти (з метою витіснення нафти водою, гарячою парою, газом тощо); при ініціюванні і підтримуванні внутрішньо-пластового горіння; при створенні підземних газосховищ тощо.
Герметичність пробуреної свердловини — стан обсадної колони труб після її цементування і розбурювання цементного стакану в колоні, коли при опресуванні тиск за 0,5 год знизиться не більше ніж на 0,5 МПа і після зниження рівня рідини до розрахункової величини через 8 год він підніметься менш ніж на 1 м.
Недосконалість свердловин — гідро(газо)динамічна характеристика свердловин, яка зумовлюється конструкцією вибою свердловин, коли свердловина або розкриває нафтогазопродуктивний пласт не на всю його товщину (недосконалість за ступенем розкриття пласта), або пласт розкритий на всю товщину і перекритий зацементованою колоною обсадних труб з наступною їх перфорацією (зроблено отвори в трубах і цементному кільці) (недосконалість за характером розкриття пласта), або свердловина розкриває пласт не на всю його товщину, обсаджена колоною труб і перфорована (недосконалість за ступенем і характером розкриття пласта). Проявляється в порушенні плоскорадіальності потоку в привибійній зоні пласта і описується коефіцієнтом досконалості свердловини.
Температурні зміни по стовбуру свердловини — зміни температури вздовж стовбура свердловини внаслідок різних термодинамічних процесів, що дають змогу: вивчати початковий тепловий фон родовища за розрізом і простяганням кожного із пластів і на цій основі уточнити уявлення про геологічну будову родовища; досліджувати теплообмінні процеси, які виникають у стовбурі свердловини і пристовбурній зоні при бурінні і кріпленні; контролювати зміну теплового режиму продуктивних пластів у процесі розробки з виявленням їх впливу на умови дренування; здійснювати контроль за роботою і технічним станом свердловин (визначати працюючі інтервали пластів, перекритих і неперекритих ліфтовими трубами, виявляти дефекти в технічному стані свердловин і т. д.).
Солеутворення у свердловині — спостережене при розробці деяких родовищ вуглеводнів випадання мінеральних солей (сульфатів кальцію і барію, карбонатів кальцію, хлоридів кальцію і ін.) у стовбурі свердловини, привибійній зоні і наземному обладнанні, яке проходить в результаті гідрогеохімічних процесів при русі пластових і нагнітальних вод до видобувних свердловин.
Продуктивна характеристика свердловини. Під продуктивною характеристикою свердловини розуміють сукупність наступних відомостей: 1. Залежність дебіту газу від різниці квадратів пластового і ви-бійного тисків, яка характеризує умови припливу газу до вибою свердловини. 2. Значення коефіцієнтів фільтраційних опорів і рівняння припливу газу, які використовуються для визначення середніх значень параметрів привибійної зони пласта та прогнозу зміни дебіту і тиску в часі. 3. Залежність дебіту і вибійної температури від депресії на пласт. 4. Залежність дебіту і гирлової температури від тиску на гирлі свердловини. 5. Робочі і максимально допустимі дебіти свердловин, одержувані з аналізу умов руйнування привибійної зони свердловини, скуп-чення домішок на вибої, утворення гідратів, корозії обладнання, підтягування конусів води, технічних умов експлуатації тощо. 6. Вільний і абсолютно вільний дебіти свердловини. 7. Умови виносу рідини (води і конденсату), твердих частинок породи і ступінь очищення або засмічення привибійної зони свердловини при різних депресіях на пласт. 8. Залежність зміни в часі дебіту газу, температури і тиску після відкриття свердловини, що служить для визначення періоду стабілі-зації параметрів пласта. 9. Залежність зміни в часі температури і тиску на вибої і на гирлі після закриття свердловини, яка використовується для визначення періоду наростання пластового (статичного) тиску і параметрів пласта. 10. Проникність (провідність) привибійної і дренажної зон свердловини. 11. Ємність дренажної зони свердловин (добуток ефективної товщини на пористість і газонасиченість). 12. Неоднорідність пласта (наявність зон різко погіршеної провідності пласта).
Дослідження свердловини
Див. також Станція дослідження свердловин
Вивчення свердловини геологічними, геофізичними, гідродинамічними і іншими методами для визначення умов роботи самої свердловини, а також колекторських характеристик пласта за умов фільтрації в зоні пласта, що дренується свердловиною. Розрізняють дослідження свердловин на неусталених та усталених режимах.
Дослідження свердловини на неусталених режимах — метод визначення параметрів пласта і свердловини за кривими відновлення тиску у свердловинах після їх зупинки (або після пуску в роботу) з використанням основної формули пружного режиму фільтрації.
Дослідження свердловини на усталених режимах — метод визначення параметрів пласта і свердловини з індикаторних діаграм, коли відомо дебіт свердловини і перепад тиску. Для оброблення індикаторної діаграми використовують лінійне або нелінійне рівняння припливу нафтової (чи газової) свердловини і визначають або коефіцієнт продуктивності свердловини, або коефіцієнти фільтраційного опору.
Температурні зміни по стовбуру свердловини
Зміни температури вздовж стовбура свердловини внаслідок різних термодинамічних процесів, що дають змогу: вивчати початковий тепловий фон родовища за розрізом і простяганням кожного із пластів і на цій основі уточнити уявлення про геологічну будову родовища; досліджувати теплообмінні процеси, які виникають у стовбурі свердловини і пристовбурній зоні при бурінні і кріпленні; контролювати зміну теплового режиму продуктивних пластів у процесі розробки з виявленням їх впливу на умови дренування; здійснювати контроль за роботою і технічним станом свердловин (визначати працюючі інтервали пластів, перекритих і неперекритих ліфтовими трубами, виявляти дефекти в технічному стані свердловин і т. д.).
Регулювання роботи свердловин
- Регулювальні криві — графічні залежності технологічних параметрів роботи фонтанної свердловини (дебіту, вибійного і гирлового тисків, газового фактора, обводненості продукції тощо) від діаметра штуцера.
- Різницева крива — крива, яка описує процес відновлення тиску в координатах час (вісь абсцис) — логарифм депресії тиску на вибої свердловини (вісь ординат) і за характером якої встановлюється співвідношення видів пустот у колекторі змішаного типу.
- Регулювання профілю приймальності — виконання операцій, направлених на вирівнювання швидкостей фільтрації рідини по товщині анізотропного пласта або багатопластового об'єкта шляхом загущення нагнітальної води, збільшення проникності прошарків, які не приймають воду, зменшення проникності прошарків з надмірно високою приймальністю, застосування методу одночасно-роздільного нагнітання води при диференційованому тиску нагнітання і ін.
- Регулювання розробки пінами — нагнітання в пласт пін, що дає змогу значно знизити фазову проникність для води у високообводнених зонах і таким чином регулювати процес заводнення, збільшуючи охоплення пласта витісненням і підвищуючи ефективність використання нагнітальної води.
- Коефіцієнт використання фонду свердловин — показник, що характеризує рівень виробничого використання всього експлуатаційного фонду свердловин:
- Кв.ф. = tp / tk.e
- де tр — кількість годин роботи (експлуатація та накопичення рідини) свердловин у процесі експлуатації; tк.е — календарний час всього експлуатаційного фонду свердловин.
- Коефіцієнт приймальності свердловини — відношення добового нагнітання води в нагнітальну свердловину до перепаду між вибійним і пластовим тисками, при якому забезпечується даний об'єм нагнітання, — величина, яка звичайно чисельно відрізняється від коефіцієнта продуктивності тієї ж свердловини і зростає зі збільшенням вибійного тиску.
- Коефіцієнт продуктивності свердловини — відношення її дебіту до відповідного перепаду між пластовим і вибійним тисками.
- Коефіцієнт взаємодії свердловин — при нафто- та газовидобутку — коефіцієнт, який кількісно характеризує співдію свердловин у пласті й являє собою відношення дебіту свердловини при її індивідуальній роботі до дебіту цієї ж свердловини при сумісній роботі з групою інших свердловин.
Справа свердловини
Технічна і геолого-промислова документація свердловини, яка включає основні документи, складені при її бурінні (буровий журнал, каротажні криві, геологічний розріз свердловини), і документацію, що відображає всю історію експлуатації, — паспорт свердловини, картку річних показників роботи, експлуатаційний журнал з реєстрацією добових операцій і показників, картку з результатами випробовування свердловини та інші документи.
Межа (границя) небезпечної зони біля свердловини
Гранична лінія (коло) навколо свердловини при веденні гірничих робіт, до якої не може бути прориву чи припливу води з свердловини в гірничі виробки.
Окремі різновиди свердловин
Див. також
Примітки
- Іноді, для спеціальних потреб при інженерно-геологічних і будівельних роботах бурять неглибокі свердловини квадратної, або трикутної форми у перетині
- Первая в мире многозабойная скважина
Література
- Мала гірнича енциклопедія : у 3 т. / за ред. В. С. Білецького. — Д. : Східний видавничий дім, 2013. — Т. 3 : С — Я. — 644 с.
- Білецький В. С. Основи нафтогазової справи / В. С. Білецький, В. М. Орловський, В. І. Дмитренко, А. М. Похилко. — Полтава: ПолтНТУ, Київ: ФОП Халіков Р. Х., 2017. — 312 с.
- Бойко В. С., Бойко Р. В. Тлумачно-термінологічний словник-довідник з нафти і газу. Тт. 1-2, 2004—2006 рр. 560 + 800 с.
- Катеринчук П. О., Римчук Д. В., Цибулько С. В., Шудрик О. Л. Освоєння, інтенсифікація та ремонт свердловин. — Харків: Пром-Арт, 2018. — 608 с.
- Свердловини у водогосподарському будівництві : навч. посіб. / М. П. Босак, О. Г. Гвоздецький ; Нац. ун-т "Львів. політехніка". — Львів : Вид-во Львів. політехніки, 2016. — 159 с. : іл., табл., портр. — Присвяч. 200-річчю Нац. ун-ту "Львів. політехніка". — Бібліогр.: с. 157 (10 назв). — ISBN 978-617-607-985-9
- Орловський В. М., Білецький В. С., Вітрик В. Г., Сіренко В. І. Бурове і технологічне обладнання. Харків: Харківський національний університет міського господарства імені О. М. Бекетова, НТУ «ХПІ», ТОВ НТП «Бурова техніка», Львів, Видавництво «Новий Світ — 2000», 2021. — 358 с.