Клапан
Кла́пан (від нім. Klа́ppen)[1], у 1920-х роках пропонувався термін хлипа́к[2][3] — деталь, заслінка або пристрій для регулювання витрати газу, пари або рідини в машинах і трубопроводах шляхом зміни площі прохідного перерізу.



.
.png.webp)

Загальний опис
Застосовують клапани для створення перепаду тиску (дросельні клапани), для запобігання зворотного потоку рідини (зворотні клапани), часткового випускання газу, пари або рідини при надмірному підвищенні тиску (запобіжні клапани), регулювання тиску або витрат (регулівні клапани), зниження тиску і його стабілізації (редукційні клапани).
Крім того, клапани застосовують як запірну арматуру для герметичного відімкнення трубопроводів, технологічних апаратів, теплоенергетичних устав тощо.
За конструкцією клапани поділяють на вентильні (див. вентиль), золотникові (див. золотник), кранові (див. кран), тарілчасті тощо.
Клапани насосів
Клапани плунжерних насосів розміщуються в спеціальних клапанних коробках, що безпосередньо примикають до насосних циліндрів і конструктивно є їхньою частиною. У клапанній коробці на шляху від трубопроводу до робочої порожнини циліндра мається отвір, конструктивно оформлений у виді гнізда, що прикривається клапаном при його посадці. Так відбувається роз'єднання циліндра від усмоктувального або нагнітального трубопроводу, що примикає до нього.
При підйомі клапана робоча порожнина циліндра сполучається з нагнітальним або усмоктувальним трубопроводом. Теоретично передбачається, що підйом або опускання відповідних клапанів відбувається миттєво при досягненні поршнем крайніх (мертвих) положень поршня.
Практично для нормальної роботи клапанного пристрою насоса необхідно, щоб клапан вільно підіймався й опускався на сідло без удару і защемлення в направляючому пристосуванні; інерція клапана повинна бути мінімальною; тому клапан повинен бути легким. Форма клапана повинна бути такою, щоб її гідравлічний опір був мінімільним. У закритому положенні клапан повинний щільно сідати на гніздо, герметизуючи його.
У даний час застосовуються майже винятково самодіючі клапани, тобто клапани, що підіймаються й опускаються тільки під дією різниці тисків рідини по обидві сторони клапана і під дією сили ваги.
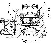
На рис. показаний клапанний вузол триплунжерного насоса 2Р-500 з тарілчастим клапаном, оснащеним притискувальною пружиною.
Клапанна пружина застосовується для того, щоб ретельно притискати до сідла клапан, що має відносно невелику масу і, отже, що володіє малою інерцією. При перекачуванні забруднених рідин опорна площина тарілчастого клапана забезпечується гумовою або шкіряною прокладкою.
Див. також
Примітки
- Етимологічний словник української мови : у 7 т. : т. 2 : Д — Копці / Ін-т мовознавства ім. О. О. Потебні АН УРСР ; укл.: Н. С. Родзевич та ін ; редкол.: О. С. Мельничук (гол. ред.) та ін. — К. : Наукова думка, 1985. — Т. 2 : Д — Копці. — 572 с. — C. 454.
- Кла́пан — хлипа́к // Російсько-український словник з інженерних технологій = Русско-украинский словарь по инженерным технологиям : [близько 42 тис. термінів] / Марія Ганіткевич, Богдан Кінаш. – 2-ге вид. – Л. : Вид-во Львівської політехніки, 2013. — 1024 с. — (Термінографічна серія СловоСвіт ; № 9)
- Хлипа́к // Російсько-українські словники — сайт r2u.org.ua
Література
- Мала гірнича енциклопедія : у 3 т. / за ред. В. С. Білецького. — Д. : Донбас, 2004. — Т. 1 : А — К. — 640 с. — ISBN 966-7804-14-3.
- Нефтепромысловое оборудование. Справочник под ред. Е. И. Бухаленко. М.: Недра, 1990.