Пристрій гідродинамічних досліджень пласта
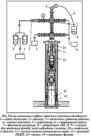
Пристрій гідродинамічних досліджень пласта (ПГДП) (англ. device for hydrodynamic survey of a stratum; нім. Einrichtung f für hydrodynamische Forschungen des Flözes) — пристрій, призначений поєднати в одному циклі робіт гідродинамічне дослідження свердловин після буріння, вплив на пласт з метою поліпшення фільтраційних властивостей привибійної зони і власне освоєння свердловин. Вплив на пласт здійснюється шляхом створення багаторазових миттєвих депресій-репресій, що може бути легко поєднаним з хіміч-ними методами впливу на привибійну зону кислотою, лугом або ПАР. Застосування пристрою ПГДП-1 (рис.) дає змогу вести постійний візуальний дистанційний контроль за допомогою реєструючих пристроїв за зміною вибійного тиску в процесі створення миттєвих депресій, а також відновлення його у підпакерній зоні.

Технологія комплексного освоєння і дослідження свердловин із застосуванням пристрою ПГДП-1 за один цикл включає такі операції: спуск компоновки ліфта і обв'язка наземного обладнання, гідродинамічне дослідження і реєстрація кривих відновлення тиску (КВТ), розшифрування кривих і оцінка фільтраційних параметрів пласта, вплив на привибійну зону з ме-тою вирівнювання фільтраційних властивостей привибійної і віддаленої зон, нове гідродинамічне дослідження КВТ, оцінка фільтраційних властивостей пласта після впливу на нього, освоєння свердловини і пуск її в експлуатацію. При цьому ведеться постійний контроль за зміною кількості припливу пластового флюїду після кожного циклу депресій-репресій. Отриманий стабільний приплив пластового флюїду свідчить про завершення очистки привибійної зони пласта методом депресій-репресій.
Література
- Мала гірнича енциклопедія : у 3 т. / за ред. В. С. Білецького. — Д. : Донбас, 2007. — Т. 2 : Л — Р. — 670 с. — ISBN 57740-0828-2.
- Бойко В. С., Бойко Р. В. Тлумачно-термінологічний словник-довідник з нафти і газу: у 2-х томах. — Київ : Міжнародна економічна фундація, 2004. — Т. 1: А–К. — 560 с.
- Бойко В. С., Бойко Р. В. Тлумачно-термінологічний словник-довідник з нафти і газу: у 2-х томах. — Львів : Апріорі, 2006. — Т. 2: Л–Я. — 800 с.