Процес «Оліфлок»
Процес «Оліфлок» (рос. олифлок, англ. olifloc, нім. Oliflok m)— один з різновидів масляної агломерації вугілля, розроблений і апробований у промислових умовах у 1973—1977 роках, базуюючись на досвіді застосування процесу «Конвертоль», а також, на ґрунтовних дослідженнях селективної масляної агломерації (СМА), проведених у Фрайберзькій Гірничій Академії, Гірничим науково-дослідним товариством в Ессені (ФРН). Розробники технології — Б. Богеншнейдер, В. Ердман, В. Ясулейтіс та ін.
Суть і загальна характеристика процесу
Вихідну пульпу змішують з вуглеводневою рідиною (мазутом марки EL, газойлем) у імпелерній мішалці Пальмана, реакторі “Диспакс”, мішалці типу “турботрон”, флотомашині “Уніпан” та ін. Продукт перемішування зневоднюють на центрифузі, на грохоті (після турботрону) або на вакуум-фільтрі. Фугат флотують. Вихідне вугілля має крупність 0-0,1 мм, зольність 20-35%. Одержують концентрат зольністю 6-9%. Відходи (хвости) зольністю до 70-76%. Процес застосовувався у 1973-1977 рр. на вуглезбагачувальних фабриках концерну Rurkohle AG. Експлуатація установок припинена у зв'язку з великими витратами масла-зв'язуючого (до 9-18 мас. % від вугілля). Переваги процесу – підвищена у порівнянні з іншими процесами (зокрема флотацією) ефективність збагачення та зневоднення тонкодисперсних класів вугілля, особливо 0-50 мкм.
Варіанти технології

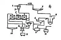
б) 1 — вихідна пульпа; 2 — зв'язуюча речовина (масляний агент); 3 — гранулят; 4 — фугат; 5 — підрешітний продукт; 6 — турботрон; 7 — грохот; 8 — фільтрувальна центрифуга; 9 — вугілля крупністю більше 0,1 мм: збагачений іншими методами
Лабораторні дослідження показали, що при введенні у водовугільну суспензію невеликої кількості низькокиплячих вуглеводнів досягається краща і швидша гідрофобізація органічного компоненту вугілля, ніж при використанні важкого мазуту як у «Конвертолі». При інших рівних умовах оптимальні витрати легких фракцій масла в 2 рази нижче, ніж важких. Низькокиплячі вуглеводні також суттєво знижують енерговитрати на агломерацію. Все це обумовило застосування як масляного агенту легкого мазуту EL, газойля, дизельного масла тощо. По первісному варіанту вихідну пульпу змішували з низькокиплячою вуглеводневою рідиною у вертикальній імпелерній мішалці Пальмана або реакторі «Диспакс». Продукт перемішування обезводнювали і обеззолювали, або у фільтрувальній центрифузі, або в дві стадії — на віброгрохоті та барабанному вакуум-фільтрі. Двостадійне обезводнення на агрегатах з відносно невисоким рівнем механічної дії на матеріал обумовлено невеликою міцністю гранул, одержуваних при використанні легких зв'язуючих. Цей варіант технології було реалізовано на спеціальній установці збагачувальної фабрики концерну «Ruhrkole AG». Призначення установки — обезводнення вугільних фракцій крупністю менш 0,1 мм. При витратах зв'язуючого 10-18 мас.% і густині суспензії 200—400 г/л одержували гранульований продукт крупністю 0,5 мм і вологістю Wrt =15-20 %.
Другий варіант технології застосовувався для збагачення і обезводнення тонких фракцій крупністю 0-0,1 мм на тій же фабриці. Від першого варіанту технологія відрізнялася операцією змішування вихідної суспензії і зв'язуючого в одну стадію в циліндро-конічному турботроні та спільною флотацією фугату центрифуги і підрешітного продукту грохота.
Витрати зв'язуючого Qм=9 мас.%; густина вихідної суспензії 200—400 г/л; максимальна лінійна швикість імпелера турботрона Vім=20-26 м/с. При зольності вихідного АdB=33 % гранульований продукт мав такі показники: da=0,5 мм; Ad=8-9 %; Wrt=15 %. Зольність відходів становила Adхв=76 %. Спеціальні дослідження показали, що масова частка масла в оборотних і скидних водах фабрики не перевищувала 0,003 %.

в) турботрон: 1 — корпус апарату; 2 — вал; 3 — гідравлічний привод; 4 — відбивач потоку; 5 — лопаті імпелера; 6 — робоча рідина гідроприводу; 7 — подача водо-вуглемасляної суспензії; 8 — продукти грануляції
Третій варіант технології «Оліфлок» апробовано на дослідній установці в Польщі. При цьому вихідну водну суспензію вугілля крупністю 0-0,5 мм і зольністю 10-21 % змішували з дизельним маслом у флотомашині «Уніпан» без подачі повітря. Продукт перемішування розділяли на віброгрохоті. При витратах зв'язуючого Qм=16 мас.%, густині суспензії 150 г/л і частоті обертання імпелера nв=2000 хв-1 одержані такі результати: зольність гранульованого вугільного концентрату Ad=6-9 %; діаметр гранул d=1 мм; їх вологість Wrt=15-20 %.
Промислові випробовування технології та перспективи
У цілому промислові випробування процесу «Оліфлок» підтвердили можливість ефективного збагачення і обезводнення вугілля крупністю менше 10 мкм з використанням технології масляної агрегації. Вперше показана доцільність застосування як зв'язуючого низькокиплячих вуглеводневих рідин. Ще раз підтверджена універсальність процесу по відношенню до вугілля різних стадій хімічної зрілості (метаморфізму) та зольності. Запропонована ефективна конструкція змішувача-турбулізатора у вигляді циліндро-конічного турботрона з трьома лопатями, розташованими одна над одною. Підтверджено промисловими випробовуваннями, що найбільш суттєвими параметрами і факторами процесу є: крупність вихідного вугілля, концентрація суспензії, вид та витрати зв'язуючого, конструкція змішувача і апаратів для розділення й обезводнення, швидкість і тривалість перемішування суспензії. Однак, відносна дефіцитність вуглеводневих зв'язуючих і їх висока вартість на світовому ринку призвели на початку 80-х років до згортання досліджень по процесу «Оліфлок».
Література
- В.Білецький, П.Сергєєв, Ю.Папушин. Теорія і практика селективної масляної агрегації вугілля. Донецьк, 1996, 264 с.
- Мала гірнича енциклопедія : у 3 т. / за ред. В. С. Білецького. — Д. : Донбас, 2007. — Т. 2 : Л — Р. — 670 с. — ISBN 57740-0828-2.
- Bogenschneider B. Die betriebliche Erprobung des Oliflok-verfahrens bei der Ruhrkohle A. G. / B. Bogenschneider, W. Erdman // Aufbereitungs - Technik. - 1981. - № 4. - S. 188-198.
- Сергєєв П. В., Білецький В. С. Селективна флокуляція вугільних шламів органічними реагентами. (монографія). — Донецьк: Східний видавничий дім, Донецьке відділення НТШ, «Редакція гірничої енциклопедії», 2010. — 240 с.
