Турботрон
Турботрон (рос. турботрон, англ. turbotron, нім. Turbotron n) – механічний перемішувач, мішалка спеціальної конструкції.

Турботрон у німецькій технології переобки вугільних шламів "Оліфлок": а) 1 — вугільний шлам (0,5 мм); 2 — гідроциклон; 3 — згущувач; 4 — турботрон; 5 — флотаційні камери; 6 — віброгрохот; 7 — гідросепаратор; 8 — фільтр; 9 — фільтраційна центрифуга; 10 — відходи; 11 — масляний агент; 12,13 — продукти процесу;
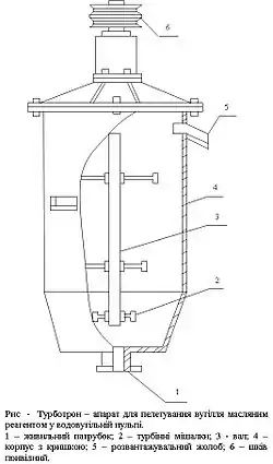
в) турботрон: 1 — корпус апарату; 2 — вал; 3 — гідравлічний привод; 4 — відбивач потоку; 5 — лопаті імпелера; 6 — робоча рідина гідроприводу; 7 — подача водо-вуглемасляної суспензії; 8 — продукти грануляції
в) турботрон: 1 — корпус апарату; 2 — вал; 3 — гідравлічний привод; 4 — відбивач потоку; 5 — лопаті імпелера; 6 — робоча рідина гідроприводу; 7 — подача водо-вуглемасляної суспензії; 8 — продукти грануляції

Версія турботрона.

Приклад моделювання. Комп'ютерна модель поля швидкостей пульпи в мішалці "Турботрон". Система Flow Simulation програмного cередовища SolidWorks

Варіанти імпелера. 3D-моделі : а) лопатева конструкція; б) з дворядними вертикальними лопатями в) пропелерного типу;
Характерна особливість – декілька імпелерів на одному вертикальному валу перемішувача. Діаметр імпелерів може зменшуватися знизу вгору за певною закономірністю. Це дозволяє забезпечити активне перемішування гідросуміші по всьому робочому об'єму мішалки-турботрона.
Застосовується, напр., в процесах масляної аґреґації.
Перше застосування - в німецькому варіанті масляної аґреґації вугільних шламів - процесі “Оліфлок”.
В Україні застосовано для переробки вугільних шламів на вуглезбагачувальній фабриці (цеху) Авдіївського КХЗ (модернізована камера флотаційної машини), а також випробувано на ЦЗФ "Росія" (Процес «ОВЗУМС»).
Див. також
Література
- Мала гірнича енциклопедія : у 3 т. / за ред. В. С. Білецького. — Д. : Східний видавничий дім, 2013. — Т. 3 : С — Я. — 644 с.
- Экспериментальная установка для исследования процессов углемасляной агломерации / А. Т. Елишевич, В. С. Белецкий, Т. В. Карлина // Экспериментальные стенды и установки для отработки параметров гидротранспорта твердых материалов : сб. науч. тр. / М-во стр-ва предприятий нефтяной и газовой пром.-сти, Науч.-произв. об-ние "Гидротрубопровод". – М., 1989. – С. 116–120
- В.Білецький, П.Сергєєв, Ю.Папушин. Теорія і практика селективної масляної агрегації вугілля. Донецьк, 1996, 264 с.
- Bogenschneider B. Die betriebliche Erprobung des Oliflok-verfahrens bei der Ruhrkohle A. G. / B. Bogenschneider, W. Erdman // Aufbereitungs - Technik. - 1981. - № 4. - S. 188-198.
Інтернет-ресурси
This article is issued from Wikipedia. The text is licensed under Creative Commons - Attribution - Sharealike. Additional terms may apply for the media files.