Ударно-канатне буріння
Уда́рно-кана́тне бурі́ння (рос. бурение ударноканатное, англ. cable-pensylvanian drilling, cable-churn drilling, churn drilling; нім. Stoßseilbohren)) — ударне буріння, яке здійснюється буровим снарядом, який спускається на канаті (масою 500—2500 кг з висоти 300—1000 мм з частотою 45-60 хв-1).

Історія
Ударно-канатне буріння в світі
Ударно-канатне буріння з'явилося понад 2 тис. років тому в Китаї для видобутку соляних розчинів. Буріння велося долотом, що опускався у свердловину на очеретяному канаті. До кінця XIX в. Б.у.-к. було практично єдиним способом буріння.
Дослідник зі США К.С. Том так описує процес буріння: «Китайський метод глибокого буріння використовував групу чоловіків, які стрибали по брусу бурового долота, в той час, як буровий інструмент обертався буйволами і биками». Цікаво, що, як повідомляє К.С. Том, цей же метод використовувався для видобутку нафти в Каліфорнії в 1860-і роки (процес називали «копати ногами вниз» – англ. «Kicking Her Down»).
У міжвоєнний період відбувалася суттєва модернізація технології буріння: були механізовані деякі важкі й небезпечні операції, вдосконалено техніку й ефективність ізоляції припливу глибинних вод, удосконалено технологію спуску обсадних труб у свердловину, а також вимірювання відхилення осі свердловини від вертикалі, впроваджено використання «шурфу» під час виконання операції нарощування інструменту й заміни долота, опрацьовані робочі інструкції. Перехід на ударно-канатний спосіб буріння швидше відбувався у великих фірмах. Невеликі фірми із застарілим канадським устаткуванням і дешевою робочою силою лише чинили опір упровадженню цього способу. У 30-ті роки ХХ сторіччя із застосуванням ударного механічного буріння була пробурена найглибша свердловина в Польщі, можливо й у Європі, «Піонер-1» на Орові у Бориславі глибиною 2274 м.
Ударно-канатне буріння в Україні
Див. також Історія ударно-канатного буріння в Україні
У 1870 році в Бориславі уже застосовували ударно-канатне буріння. Але внаслідок відсутності устаткування й досвіду цей метод буріння не сприйняли прихильники канадського способу і, внаслідок цього, він не набув поширення на Прикарпатті у XIХ столітті. Особливістю ударно-канатного буріння є застосування тросів замість штанг. Після Першої світової війни деякий час застосовували ударно-штангові бурові машини й обладнання, що збереглися з передвоєнної пори. Перелом на користь канатної системи відбувся у 1920-х роках, коли на Прикарпатті з’явилися фахівці нової генерації – випускники Краківської гірничо-металургійної академії та нафтового факультету Львівського політехнічного інституту, які почали запроваджувати новий, ударно-канатний спосіб буріння.
Сучасне застосування
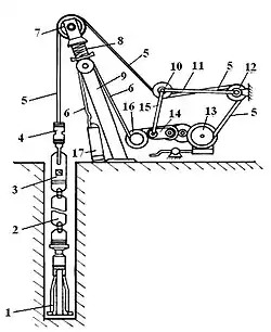
З усіх різновидів ударного буріння сьогодні застосовується лише ударно-канатне. На рис. показана його технологічна схема. Цей спосіб буріння застосовується у вугільній і гірничорудній промисловості при інженерно-геологічних пошуках, бурінні свердловин на воду та для вибухових робіт.
При загальмованому барабані інструментальної лебідки 13, на якому закріплений кінець каната, шатунно-кривошипним механізмом 14 і 15 балансирна рама приводиться в коливальний рух відносно осі напрямного ролика 12. Відтяжний ролик балансирної рами, опускаючись, натягує канат та піднімає снаряд над вибоєм. Піднімаючись угору, ролик 10 звільнює канат, і снаряд під власною вагою падає на вибій, руйнуючи долотом породу.
У міру поглиблення свердловини канат подовжують, змотуючи його з барабана 13. Долото повертається під час роботи само по собі, тому що канат розкручується під навантаженням під час підйому бурового снаряда і скручується при знятті навантаження під час удару долота об породу.
У міру накопичення на вибої зруйнованої породи (шламу) виникає необхідність в очищенні вибою свердловини. Для цього піднімають буровий снаряд із свердловини й опускають у неї жолонку, що має форму видовженого відра з клапаном у днищі. При зануренні жолонки в суміш рідини та розбурених частинок породи клапан відкривається і жолонка заповнюється цією сумішшю. При підйомі жолонки клапан закривається. Підняту на поверхню зашламовану рідину виливають у збірну ємність. Жолонку спускають у свердловину до повного очищення вибою. Після очищення вибою у свердловину опускають буровий сна-ряд і процес буріння продовжується.
Ефективність руйнування породи при ударно-канатному способі буріння прямо пропорційна масі бурового снаряда, висоті його падіння, прискоренню падіння, кількості ударів долота об вибій за одиницю часу й обернено пропорційна квадрату діаметра свердловини. Однак при всіх інших рівних факторах продуктивність ударно-канатного буріння значною мірою залежить від правильності вибору для цієї породи типу долота та його якості.
Для ударно-канатного буріння випускають самохідні й стаціо-нарні верстати, що дозволяють бурити свердловини глибиною до 500 м. Вони мають порівняно невелику масу (7 – 20 т), і тому їх можна легко перевозити з місця на місце, що дуже важливо для організації бурових робіт у важкодоступних і віддалених районах.
Див. також
Література
- Мала гірнича енциклопедія : у 3 т. / за ред. В. С. Білецького. — Д. : Східний видавничий дім, 2013. — Т. 3 : С — Я. — 644 с.
- Білецький В. С. Основи нафтогазової справи / В. С. Білецький, В. М. Орловський, В. І. Дмитренко, А. М. Похилко. – Полтава : ПолтНТУ, Київ : ФОП Халіков Р.Х., 2017. – 312 с.
- Бойко В. С., Бойко Р. В. Тлумачно-термінологічний словник-довідник з нафти і газу. Тт. 1-2, 2004–2006 рр. 560 + 800 с.
- Коцкулич Я. С., Кочкодан Я. М. Буріння нафтових і газових свердловин. – Коломия: 1999. – 504 с.
- Мислюк М.А., Рибчич І.Й, Яремійчук Р.С. Буріння свердловин: Довідник. – К.: Інтерпрес ЛТД, 2002. – ТТ.1,2,3,4,5.
- Яремійчук Р.С, Возний В.Р. Основи гірничого виробництва. Підручник.-Київ, Українська книга, 2000.-с.360. ISBN 966-7327-52-3