Колонна оснастка
Колонна оснастка (рос. колонная оснастка; англ. string rigging; англ. column furnishings; нім. Rohrtourausrüstung f) — у бурінні свердловин — частина технологічної оснастки обсадних колон для полегшення їх опускання, забезпечення цементування, відокремлення бурового і тампонажного розчинів і т. д.
Елементи колонної оснастки: колонні башмаки, зворотні клапани, розділювальні цементувальні пробки, муфти, хвостовики.
Для випробування продуктивних горизонтів та забезпечення подальшої їх експлуатації без ускладнень обв'язка колон на гирлі повинна забезпечувати:
1. герметизацію, контроль тиску і можливість заповнення промивною рідиною заколонного простору;
2. жорстке з'єднання верхньої (гирлової) частини експлуатаційної колони з іншими колонами, спущеними у свердловину раніше;
3. можливість фіксування деяких величин натягу експлуатаційної колони;
4. відновлювати порушену герметизацію міжколонного кільцевого простору шляхом нагнітання спеціальних паст або самотвердіючих пластиків.
Колонна головка


Після закінчення буріння свердловини, спуску експлуатаційної колони і її цементування, верхні частини обсадних колон (кондуктора, проміжної та експлуатаційної) з'єднуються за допомогою колонної головки.
Колонні головки встановлюються на всіх свердловинах незалежно від способу їх експлуатації. Для нафтових, газових і газоконденсатних свердловин вибір типу колоної головки залежить від пластового тиску.
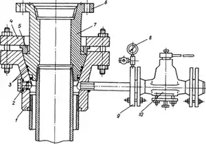
У промисловій практиці застосовують колонні головки двох типів: клинову (рис. 1) ГКК та муфтову ГКР (рис. 2)
Найбільш поширена клинова колонна головка. Вона призначена для обв'язки двох колон — проміжної та експлуатаційної або експлуатаційної та кондуктора.
Колонні головки випробовують на герметичність обпресуванням на робочий тиск згідно з паспортними даними, а також на міцність корпусу на пробний тиск згідно з наведеними нижче даними.
Після установки колонної головки на гирлі газової свердловини її опресовують газоподібними агентами в наступному порядку:
1) Через міжколонних простір на гирлі опресовують на тиск, що відповідає допустимому внутрішньому тиску проміжної колони, але не вище тиску, який може викликати поглинання рідини;
2) встановлюють на колону трубну головку фонтанної арматури, знижують рівень рідини в колоні і вдруге опресовують газом (повітрям) колонну головку на максимальний робочий тиск обсадної колони, на якій установлена колонна головка, і дають витримку тиску не менше 5 хв.
При опресовуванні колонної головки не повинно бути витоку газу.
За умовами експлуатації обладнання розділяється на три групи:
1) для помірного макрокліматичного району не корозійного середовища;
2) для помірного макрокліматичного району корозійного середовища;
3) для холодного макрокліматичного району і не корозійного середовища.
У шифрі колонних головок прийняті наступні позначення: Г — головка, К — колона, К або М — спосіб підвішування колон (відповідно на клинах або на муфті), 1, 2, 3 і т. ін. — число колон, що підвішуються (без урахування колони кондуктора), перше число — робочий тиск, друге число — діаметр експлуатаційної колони в мм, третє число — діаметр технічної колони, четверте число — діаметр колони кондуктора в мм, ХЛ — кліматичне виконання для холодного району, виконання по корозійній стійкості.
Див. також
Література
- Мала гірнича енциклопедія : у 3 т. / за ред. В. С. Білецького. — Д. : Донбас, 2004. — Т. 1 : А — К. — 640 с. — ISBN 966-7804-14-3.
- Баграмов Р. А. Буровые машины и комплексы. — Москва: Недра, 1988. — С.448 — 464.
- Абубакиров В. Ф., Архангельский В. Л., Буримов Ю. Г. та ін. Буровое оборудование: Справочник в 2-х томах. — Москва: Недра, 2000. — Т.1. — С. 249—264.
- Орловський В. М., Білецький В. С., Вітрик В. Г., Сіренко В. І. Бурове і технологічне обладнання. Харків: Харківський національний університет міського господарства імені О. М. Бекетова, НТУ «ХПІ», ТОВ НТП «Бурова техніка», Львів, Видавництво «Новий Світ — 2000», 2021. — 358 с.