Противикидне обладнання
Противикидне обладнання (рос. противовыбросное оборудование, англ. outburst prevention equipment, blowout equipment, blowout preventor equipment, , нім. Eruptionsschutzausrüstung f, Eruptionsausrüstung f, Bohrlochsicherung f, Unterwasserausrüstung f) — у свердловинах — блок пристроїв, призначених для герметизації гирла свердловини. Входить до складу бурового устаткування. Використовується для запобігання відкритим викидам і фонтанам нафти і газу, що виникають при бурінні, випробуванні і освоєнні свердловин за наявності аномального пластового тиску. П.о. включає превентори, що герметизують гирло свердловини; маніфольди, призначені для обв'язки превенторів з метою впливу на свердловину; системи дистанційного управління превенторами і засувками маніфольду.


Загальний опис
За правилами безпеки в нафтогазовидобувній промисловості встановлення противикидного обладнання обов'язкове при бурінні на розвідувальних площах, газоконденсатних і газових родовищах і на родовищах з аномально високим пластовим тиском. Гирло свердловини обладнується превенторами після спуску і цементування кондуктора і проміжної колони. Противикидне обладнання випробовується на міцність і герметичність.
З метою підвищення надійності противикидне обладнання комплектується резервними елементами, призначеними для виконання функцій основних елементів у разі їх відмов. При цьому збільшуються маса, габарити і вартість цього обладнання. Проте надійність противикидного обладнання зростає на декілька порядків. В цілях безпеки пульт управління противикидним обладнанням встановлюють на відстані не меншого 10 м від гирла свердловини, а дублер — у поста бурильника.
Основні параметри противикидного обладнання — діаметри прохідних отворів і робочий тиск превенторів і маніфольда. Діаметри і приєднувальні розміри превенторів узгоджуються з діаметрами доліт, бурильних і обсадних труб, а також колонних головок, призначених для обв'язування зовнішніх кінців обсадних колон, зацементованих в свердловині. Превентори і засувки повинні мати пристрій для чіткого дистанційного контролю їх положення (відкриті, закриті).
Противикидне обладнання працює в діапазоні температур від +55 ° C до -40 ° C.
Основні вимоги до противикидного обладнання
Противикидне обладнання призначено для герметизації гирла свердловини з метою запобігання відкритих викидів рідини або газорідинної суміші і фонтанів при бурінні, випробуванні та освоєнні свердловин. Основною причиною таких явищ є перевищення пластового тиску (тиску в продуктивному пласті покладу) над тиском стовпа промивної рідини, яка заповнює свердловину.
Відкриті фонтани і викиди становлять небезпеку для обслуговчого персоналу, призводять до забруднення навколишнього середовища і пожеж, гасіння яких вимагає великих матеріальних витрат. Противикидне обладнання повинно мати абсолютну надійність та високий ступінь готовності. Лише за таких умов можна забезпечити своєчасне перекриття гирла свердловини при наявності або відсутності в ній бурильної колони. При цьому повинна бути забезпечена можливість виконання таких технологічних операцій:
– розхожування, прокручування і протягування бурильних труб із замковими з'єднаннями та обсадних труб з муфтами;
– закрита циркуляція промивної рідини з протитиском на пласт;
– закачування розчину в пласт буровими або цементувальними насосами.
Склад обладнання
Основні складові частини противикидного обладнання (ПВО):
1) стволова частина ПВО: — гирлова хрестовина / адаптерна котушка; — превентор плашковий здвоєний або одинарний гідравлічний; — превентор універсальний гідравлічний кільцевий;
2) маніфольд в складі: — блок глушення; — блок дроселювання;
3) станція гідрокерування превенторамі і гідрокерування засувками;
4) сепаратор бурового розчину.
Маніфольд противикидного обладнання складається з ліній дроселювання і глушіння, які з'єднуються із стволовою частиною противикидного обладнання і є системою трубопроводів і арматури (засувки з ручним гідравлічним управлінням, регульовані дроселі з ручним і гідравлічним управлінням, манометри і ін.).
Лінія глушіння з'єднується з буровими насосами і служить для закачування в свердловину обважненого розчину по міжтрубному простору. При необхідності лінію глушіння можна використовувати для зливу газованого промивного розчину в камеру-дегазатор циркуляційної системи бурової установки. Лінія дроселювання служить для зливу промивного розчину і відбору флюїдів з свердловини з протитиском на пласт, а також для закачування рідини в свердловину за допомогою цементувальних агрегатів.
Маніфольди противикидного устаткування розраховують на робочий тиск: 21, 35, 70 МПа. По конструкції засувок маніфольди діляться на два типи: МП — з клиновими засувками і МПП — з прямоточнимі засувками. Маніфольди типу МП в блочному виконанні мають шифр МПВ. Шифр маніфольдів доповнюється цифрами, вказуючими діаметр їх прохідного отвору і робочий тиск (наприклад МПВ-80х35). У сучасних маніфольдах діаметр прохідного отвору приймається рівним 80 мм для всіх схем противикидного обладнання.
Засувки маніфольда мають ручне і гідравлічне дистанційне керування. Головними є засувки з гідравлічним управлінням, здійснюваним за допомогою гідроциліндра подвійної дії, поршень якої з'єднується з шибером засувки. Від безвідмовності головних засувок залежить надійність противикидного обладнання. Це вимагає постійного контролю за технічним станом їх. У засувках з ручним управлінням шибер з'єднується з шпінделем, що висувається при обертанні маховика.
У лініях глушіння і дроселювання застосовуються високоякісні безшовні труби. Фланцеві з'єднання маніфольда ущільнюються металевими кільцевими прокладками. Базовою деталлю для монтажу стволової частини і маніфольда противикидного обладнання є гирлова (верхня) хрестовина колонної головки. При невідповідності діаметрів хрестовини і превентора між ними встановлюється перехідна котушка або перевідний фланець. Лінії маніфольда повинні бути прямими і відведені від доріг, ліній електропередач і інших споруд. Поворот лінії маніфольда допускається у виняткових випадках і лише із застосуванням сталевих кованих косинців.
Маніфольд встановлюється на санях з телескопічними стійками, що дозволяють регулювати висоту його розташування в межах 0,65-1,25 м залежно від положення колонної головки над гирлом свердловини, що змінюється після спуску і цементуванні чергової обсадної колони. Висота роз'ємного жолоба встановлюється по відстані між фланцевою котушкою і ротором бурової установки.
Сепаратор газовмісного бурового розчину призначений для фазового розділення газорідинного газовмісного бурового розчину з пластовим флюїдом, повернення бурового розчину в циркуляційну систему бурової установки, направлення потоку газової фази на розсіювання в атмосферу або на факельний стояк для спалювання.
Превенторна установка

Превенторна установка становить складну систему гідравлічного устаткування і має наступні особливості: 1. Усі вузли устаткування виконують свої функції тільки при виникненні аварійної ситуації на свердловині. Щоб у цей період установка працювала чітко і надійно, періодично перевіряють роботу превенторів, засувок, системи гідрокерування тощо. 2. Важкі умови роботи при ліквідації нафтогазопроявлень, а також під час переходу установки на роботу в режимі фонтанування. 3. Ускладнення в забезпеченні постійної готовності установки до роботи в період нормального процесу буріння.
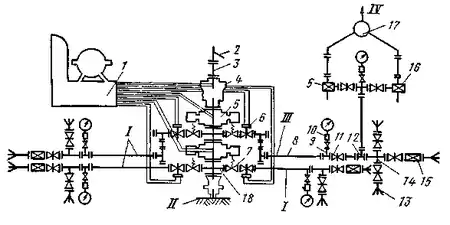
Розглянемо схему обв'язування гирла свердловини (див. рисунок 8.1). Стовбурна частина превенторної установки може бути представлена превенторами з умовним проходом 180, 230, 280 або 350 мм, розрахованими на робочий тиск 35, 70 і навіть 105 МПа.
У разі прояву свердловин, при закритті тільки нижнього плашкового превентора, весь продукт із свердловини надходить по двох струнах маніфольда превенторної установки через засувки, регулюючі і швидкозмінні штуцери в жолобну системи й комори. Шлях продукту (розчину) по струнах маніфольда різний, і опори, які долаються ним при цьому, також різні.
По струні 8 розчин проходить через відсікач, три засувки та по прямій лінії через швидкозмінний штуцер у комору. Гідравлічні опори, подолані на цьому шляху розчином, складаються з місцевих опорів на розширення потоку у фланцевих з'єднаннях і швидкозмінному штуцері, встановленому за засувкою 11. Задаючи певний діаметр насадки штуцера, можна добитися практично будь-якого перепаду тиску. Встановити певний перепад тиску можна за допомогою швидкозмінного штуцера.
Застосування на струнах двох швидкозмінних і двох регулюючих штуцерів, які регулюють тиск у широкому діапазоні, виключає необхідність розрахунку превенторної установки з метою визначення гідравлічних втрат як у всій системі, так і окремо по струнах. Практика підтверджує цей висновок. Більшість уживаних превенторних установок має діаметр прохідного отвору маніфольда 75—80 мм, що забезпечує безаварійну роботу превенторної установки при проявах і проведення необхідних технологічних операцій. При розрахунку окремих вузлів і деталей превенторної установки за початкові дані приймаються діаметр прохідного отвору й робочий (випробувальний) тиск.
Різновиди
Противикидне обладнання підводне — блок пристроїв для герметизації підводного гирла (устя) свердловини, який входить до складу бурового підводного гирлового обладнання і використовується для запобігання відкритому фонтануванню нафти і газу при бурінні свердловини з плавучої бурової платформи. Противикидне обладнання підводне включає блок превенторів і скеровуючу (напрямну) секцію.
Усередині блокa противикидних превенторів для можливості закриття свердловини на дні моря при відході бурового устаткування встановлюють комплект запобіжних клапанів.
Управління противикидним обладнанням
Раптовість викидів нафти і газу і непередбачуваність виникаючих аварійних ситуацій вимагають оперативних і безпечних засобів управління противикидним обладнанням, що зберігають працездатність в довільний момент часу. Ці вимоги задовольняються при використанні дистанційного гідравлічного приводу і механічного приводу, що застосовується як дублюючий.
Станція керування противикидним обладнанням призначена для керування превенторами і гідропривідними засувками маніфольда, що входять до складу комплексу ПВО і обігріву превенторів робочою рідиною в холодну пору року, з метою виконання необхідних технологічних операцій при бурінні та капітальному ремонті нафтових і газових свердловин. Станція забезпечує: — безперебійну подачу робочої рідини до гідропривідних систем ПВО по команді з основного пульта керування або дистанційного пульта керування бурильника; — підтримку необхідного тиску робочої рідини.
Комплект обладнання: — насосно-акумуляторна станція з основним пультом керування; — дистанційний пульт керування бурильника; — гнучкі сполучні рукави високого тиску.
Станція оснащена наступними елементами: — пневмогідравлічними акумуляторами поршневого або балонного типу, що піддуваються азотом; — основним і допоміжним насосами; — вимірювальними приладами, змонтованими на пульті керування; — електрогідравлічними перетворювачами для перетворення гідравлічного тиску в електричні сигнали, що передаються на дистанційний пульт керування; — запобіжними і регулюючими клапанами; — гідророзподільними кранами для керування превенторамі та засувками.
Література
- Мала гірнича енциклопедія : у 3 т. / за ред. В. С. Білецького. — Д. : Донбас, 2007. — Т. 2 : Л — Р. — 670 с. — ISBN 57740-0828-2.
- Бойко В. С., Бойко Р. В. Тлумачно-термінологічний словник-довідник з нафти і газу. Тт. 1-2, 2004—2006 рр. 560 + 800 с.
- Орловський В. М., Білецький В. С., Вітрик В. Г., Сіренко В. І. Бурове і технологічне обладнання. Харків: Харківський національний університет міського господарства імені О. М. Бекетова, НТУ «ХПІ», ТОВ НТП «Бурова техніка», Львів, Видавництво «Новий Світ — 2000», 2021. — 358 с.